Zum Hauptinhalt springen Zur Suche springen Zur Hauptnavigation springen
Menü
Plasma und seine Probleme

Plasma und seine Probleme

Geschätze Lesezeit: 5 Minuten
TecLab
17.11.2025

Plasmamaschinen sind grundsätzlich ein Problem!
Gerade bei Modellbauern mit selbstgebauten Maschine kommt es sehr oft zu Problemen, denn es wird oft an allen Ecken gespart weil man die Notwendigkeit nicht sieht oder kennt.

Wer sparen will sollte sich immer vor Augen halten: Auch Sie können Naturwissenschaften nicht aushebeln. 

Probleme - Lösungsansätze 

Aber schauen wir uns Grundsätzlich erst einmal an was Plasmaschneiden überhaupt ist.

Vereinfacht ausgedrückt wird mittels Strom ein Lichtbogen erzeugt, der das Material bis zu 3000 Grad erhitzt und das schmelzende Material mittels Druckluft rausbläst.

Die Schmelze und Druckluft sind überhaupt kein Problem, aber die hohen Ströme schon.

Gerade das Zusammenspiel von Plasma - Maschine und PC ist beim Bau einer Plasmamaschine eine Herausforderung und überfordert schnell den Anwender weil er den Zusammenhang nicht erkennt.




Plasmaanlage

Mit welcher Spannung wird überhaupt gearbeitet?

Schauen wir uns einmal die Netztwerkleitung an:
Ein Netzwerk was wir an einen "normalen PC" haben, arbeitet mit ca. 3,3 Volt zur Datenübertragung.

Wenn wir nun ein Plasmagerät haben was beim Einschalten mit einer Hochfrequenz von bis zu 30.000 Volt arbeitet sehen wir schon das 3,3 Volt und 30.000 Volt nicht wirklich zusammen passen.

Wenn man jetzt sagt, die beiden Spannungen sind ja nicht auf den gleichen Leitungen. Stimmt aber die Ströme erzeugen - sagen wir mal "Wirbelstürme" im Stromnetzt was sich durch abstürze des PC - Einfrieren des Monitors und Ausfall des Netztwerkes sich bemerkbar macht.

Was also machen?
In erste Linie - Schirmen - Erdleitung überprüfen

- Wenn also beim Zünden der Stromquelle der PC abstürzt / die Netzwerkverbindung abreist, prüfen Sie als erstes ob der PC und die Plasmaquelle auf einem Stromkreis liegt?

- Prüfen Sie die richtige und ausreichende Erdung der Anlage und ob Sie überhaupt eine Erdung am Haus haben! Also nicht nur verdrahten sondern auch in den Boden ableiten - darum Erdung ;-)

- Prüfen Sie ob alle Achsen richtig geerdet sind.

Hier insbesondere der Übergang von den Einzelnen Achsen untereinander. Schauen wir uns einmal ein Linearwagen an.


Linearwagen
Ein Linearwagen hat sehr viele kleine Kugeln die überhaupt noch Kontakt zur Schiene haben. Wenn wir uns eine Kugel anschauen so ist die Tragfläche extrem klein.
Kugel
Potentialausgleich einer Maschine

Für Sie als "Hersteller" der Maschine, bedeutet dieses, alle Achsen müssen gesondert mit einer PE Leitung ausgerüstet werden.

Diese Leitungen sind auch nicht 1,5mm² sondern mindesten 4 mm² dick.
Zudem werden keine Schlaufen / Brücken gezogen, sondern jede PE Leitung wird von seinem Ausgangspunkt bis in den Schaltschrank auf einen Punkt (Stern) verlegt.

Warum ist dieses so wichtig?
Die Verbindung zu Ihrer Steuerung ist mindestens über die Motorleitungen zur Servoendstufe im Schaltschrank und diese dann über die Stromzufuhr mit dem Schaltschrank verbunden.
Genau hier liegt der Zusammenhang in Verbindung mit der Störung





PE Leitung

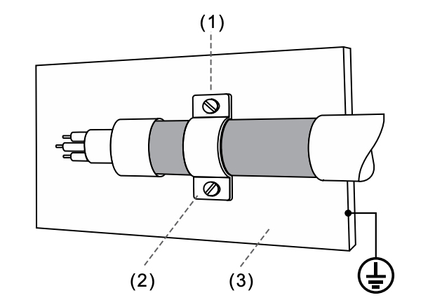
Dann haben wir noch den Schirm einer Leitung.
Die Unterschiedlichen Leitungen werden in einer Energiekette meist zusammen geführt. Über eine lange Strecke fließen nun die unterschiedlichen Spannungen zusammen in einer Kette.

Wir haben ja auch noch ein paar Sensoren wie Referenzschalter Endlagenschalter und so weiter die ja auch auf der Steuerung aufliegen.
Also muss die Schirmung der Leitung sauber aufliegen. Der Schirm wird großflächig mit einer Schirmklemme (wie unten gezeigt) aufgelegt.



Schirmklemme

Im Schaltschrank:
Vermeiden Sie unterschiedliche Spannungen in einem Kabelkanal zu verlegen. Wenn es sein muss kreuzen sich die Leitungen im rechten Winkel. Verwenden Sie Metallverschraubungen im Schaltschrank als Kabeldurchführungen.
Bei der Firma Rittal finden Sie einen guten Ratgeber wie man einen Schaltschrank aufbaut und richtige EMV Schutz einsetzt. Vieles kostet überhaupt kein Geld nur die Planung ist entscheidend.

Zu letzt noch:
Wenn Ihr Schaltschrank so aussieht verschonen Sie uns mit Anfragen ;-)



SO NICHT

Kommentare (0)

Schreiben Sie ein Kommentar

Die mit einem Stern (*) markierten Felder sind Pflichtfelder.

Rückruf anfragen
Wir bieten einen Rückruf von Montag bis Donnerstag an!
Bitte bedenken Sie das wir die gewünschte Zeit nicht 
Garantieren können.
                                      
Die von Ihnen übermittelten Informationen werden gemäß unserer Datenschutzerklärung ausschließlich für die Abwicklung Ihrer Kontaktanfrage gespeichert.
Rückruf erfolgreich angefordert.
Formular konnte nicht verarbeitet werden.